FT44H杠桿浮球式蒸汽疏水閥產品概述
FT44H杠桿浮球式蒸汽疏水閥是由閥體內凝結水的液位變化驅動浮球帶動單閥芯的啟閉動作,以到達自動排除冷凝水和空氣,同時阻止蒸汽泄漏。當蒸汽系統運行時,空氣會在蒸汽之前進入蒸汽疏水閥內,此時,浮球在其底部位置,閥門關閉,較低的系統壓力強迫空氣通過熱靜力排氣閥排出,接著冷的凝結水隨著空氣進入閥內,冷凝水液面逐漸升高,浮球向上浮起,同時,浮球通過杠桿帶動閥芯打開,使冷凝水通過閥孔排出疏水閥,當蒸汽進入閥內時,閥體中液位逐漸下降,隨之浮球就會帶動閥芯關閉,相應的溫度使熱靜力排空氣閥膨脹關閉,防止蒸汽逸出,隨著空氣在閥內的聚集,溫度會降到飽和蒸汽溫度以下,壓力平衡使熱靜力排空氣閥打開并排放空氣。本產品排量大,不受壓力和溫度的影響,隨冷凝水量自動調節開度,連續排水,設備不存水,有水即排,靈敏度高,過冷度≥0℃,能使加熱設備達到較好的換熱效果。
FT44H杠桿浮球式蒸汽疏水閥部件材料
序號 | 部件名稱 | 材料名稱 | ||||
1 | 閥 體 | A216 WCB | A217 WC6 | A351 CF8 | A351 CF8M | A351 CF3M |
2 | 閥 蓋 | A216 WCB | A217 WC6 | A351 CF8 | A351 CF8M | A351 CF3M |
3 | 浮 球 | A240 304 | A240 304 | A240 304 | A240 316 | A240 316L |
4 | 主 閥 芯 | A276 440 | A276 440 | A276 304 | A276 316 | A276 316L |
5 | 主閥閥座 | A276 430 | A276 430 | A276 304 | A276 316 | A276 316L |
6 | 控 制 架 | A240 304 | A240 304 | A240 304 | A240 316 | A240 316L |
7 | 彈 簧 | 17-4PH | 17-4PH | A276 304 | A276 316 | A276 316L |
8 | 膜 盒 | A240 304 | A240 304 | A240 304 | A240 316 | A240 316L |
9 | 膜盒閥座 | A276 430 | A276 430 | A276 304 | A276 316 | A276 316L |
FT44H杠桿浮球式蒸汽疏水閥性能規范
公稱壓力PN(MPa) | 1.6 | 2.5 | 4.0 | 2.0 | 5.0 |
殼體試驗壓力(MPa) | 2.4 | 3.75 | 6.0 | 3.0 | 7.5 |
工作壓力(MPa) | ≥0.01 | ||||
設計制造 | GB/T 22654-2008 蒸汽疏水閥 技術條件 | ||||
結構長度 | GB/T 12250-2005 蒸汽疏水閥 術語、標志、結構長度 | ||||
法蘭標準 | JB/T 79、GB/T 9113、HG/T 20592、HG/T 20615、ASME B16.5等 | ||||
檢驗驗收 | GB/T 12251-2005 蒸汽疏水閥 試驗方法 | ||||
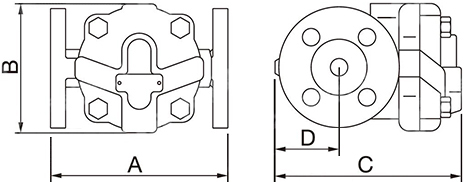
FT44H杠桿浮球式蒸汽疏水閥外型尺寸
公稱壓力 PN | 公稱通徑 DN | 尺寸(mm) | 參考重量 KG | |||
A | B | C | D | |||
16 ~ 40 (Class150)20 | 15 | 150 | 107 | 147 | 55 | 4.5 |
20 | 150 | 107 | 147 | 55 | 5.0 | |
25 | 160 | 107 | 166 | 100 | 6.5 | |
32 | 270 | 147 | 238 | 158 | — | |
40 | 270 | 147 | 238 | 158 | — | |
50 | 270 | 147 | 238 | 158 | — | |
65 | 270 | 210 | 238 | 158 | — | |
80 | 350 | 210 | 300 | 190 | — | |
100 | 350 | 210 | 300 | 190 | — | |
FT44H杠桿浮球式蒸汽疏水閥結構圖

如果你需訂購我廠杠桿浮球式蒸汽疏水閥產品,咨詢時煩請說明產品類型,公稱通徑、公稱壓力、閥體和內件材質、工作溫度、法蘭執行標準及密封面形式等。
網站首頁