雙相鋼T型過濾器產品概述
雙相鋼T型過濾器是一種殼體、法蘭、法蘭蓋、濾網和濾座等采用2205、2507或S31803、S32750及S22053、S25073、022Cr23Ni5Mo3N、022Cr25Ni7Mo4N等材料焊接制作而成的雙相不銹鋼T型過濾器。其主體部件所使用的材質兼備了奧氏體不銹鋼具有的優良的延性、韌性、焊接性與鐵素體不銹鋼所擁有的較高強度和抗應力腐蝕裂紋性能的優點,它在抗晶間腐蝕、點蝕、間隙腐蝕,特別是抗氯化物導致的應力腐蝕開裂方面具有絕對的優勢。本產品主要適用于石油化工、海水等含氯離子腐蝕環境介質的過濾。
雙相鋼T型過濾器法蘭通過氬弧焊工藝焊裝在三通管的管口上,濾芯擋圈焊置于三通管件的直通管形內部,濾筒一端放置在濾芯擋圈凹槽內,另一端用法蘭蓋壓緊固定,當流體進入置有一定規格濾網的濾筒后,其雜質被阻擋,而清潔的濾液則由出口排出,當需要清洗時,只要將可拆卸的濾筒取出,處理后重新裝入即可,因此,使用維護極為方便。本產品有直流式、正折流式和反折流式三種,可根據實際配管需要選型,一般直流式宜安裝在直管段部位,正折流式和反折流式宜安裝在有90°流向變化處,以節省彎頭。
雙相鋼T型過濾器部件材料
| 序號 | 部件名稱 | 材料名稱 | |||||
| 1 | 殼 體 | 2205 | 2507 | S31803 | S32750 | S22053 | S25073 |
| 2 | 法 蘭 | 2205 | 2507 | S31803 | S32750 | S22053 | S25073 |
| 3 | 法 蘭 蓋 | 2205 | 2507 | S31803 | S32750 | S22053 | S25073 |
| 4 | 濾 網 | 2205 | 2507 | S31803 | S32750 | S22053 | S25073 |
| 5 | 濾 座 | 2205 | 2507 | S31803 | S32750 | S22053 | S25073 |
| 6 | 墊 片 | PTFE | PTFE | PTFE | PTFE | PTFE | PTFE |
| 7 | 螺 栓 | 304 | 316 | 304 | 316 | 304 | 316 |
| 8 | 螺 母 | 304 | 316 | 304 | 316 | 304 | 316 |
雙相鋼T型過濾器技術規范
| 公稱壓力PN(MPa) | 1.0 | 1.6 | 2.5 | 4.0 | 2.0 | 5.0 |
| 殼體試驗壓力(MPa) | 1.5 | 2.4 | 3.75 | 6.0 | 3.0 | 7.5 |
| 氣密性試驗壓力(MPa) | 1.0 | 1.6 | 2.5 | 4.0 | 2.0 | 5.0 |
| 設計制造 | SH/T 3411-2017、GB/T 14382-2008、HG/T 21637-1991 | |||||
| 對焊接端 | 按GB/T 12224-2005或ASME B16.25-2017的規定 | |||||
| 檢驗試驗 | SH/T 3411-2017、GB/T 14382-2008、HG/T 21637-1991 | |||||
| 工作溫度 | -196℃ ~ 540℃ | |||||
| 過濾精度 | 20μm ~ 16000μm | |||||
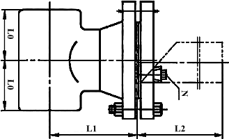
雙相鋼T型過濾器主要尺寸
| 公稱壓力 PN | 公稱通徑 DN | 安裝尺寸/mm | 過濾面積 cm2 | 排污口N | |||
| L0 | L1 | L2 | H | 管螺紋 | |||
| 20 (Class150) | 50 | 64 | 192 | 180 | — | 120 | R? |
| 65 | 76 | 222 | 207 | — | 160 | R? | |
| 80 | 86 | 242 | 227 | — | 220 | R? | |
| 100 | 105 | 286 | 268 | — | 329 | R? | |
| 125 | 124 | 337 | 320 | — | 486 | R? | |
| 150 | 143 | 375 | 358 | — | 685 | R? | |
| 200 | 178 | 458 | 439 | — | 1152 | R? | |
| 250 | 216 | 534 | 513 | — | 1737 | R? | |
| 300 | 254 | 622 | 599 | — | 2357 | R? | |
| 350 | 279 | 685 | 660 | — | 3077 | R? | |
| 400 | 305 | 737 | 711 | — | 3839 | R? | |
雙相鋼T型過濾器結構圖

如果你需訂購我廠本產品,咨詢時煩請說明產品類型(有直流式、正折流式和反折流式三種結構型式),公稱通徑、公稱壓力、濾芯材質、使用介質、過濾精度、端部連接形式,如采用法蘭連接,請注明法蘭執行標準及密封面形式,是否配對法蘭、螺栓螺母及墊片等。
網站首頁